Hochschule Kempten      
Fakultät Elektrotechnik      
Microelectronics       Fachgebiet Elektronik, Prof. Vollrath      

Microelectronics

07 CMOS Logic

Prof. Dr. Jörg Vollrath


06 Design rules




Video of lecture 07 12.05.2021


Länge: 1:11:13
0:0:0 Overview Parasitics and design style

0:1:20 Devices outline

0:3:20 Resistance

0:5:50 Temperature and resistance of doped silicon

0:8:50 Sheet resistance

0:13:50 Layout of resistors

0:16:50 Contact resistance

0:18:30 Maximum current density

0:22:52 Supply voltage routing

0:26:53 Capacitances

0:31:30 Example poly silicide resistor capacitance

0:33:56 Example resistance and capacitance

0:38:25 Square counting C

0:43:29 Resistance

0:49:36 Half a square

0:40:52 Cross section

Video of Silicon compiler 10.05.2021


Länge: 1:28:22
0:0:0 0

0:0:44 Schematic

0:2:46 Silicon compiler

0:4:10 Delete some VHDL

0:5:23 Run Tools Silicon compiler

0:7:36 Error: Select M1 in another layout

Curve fitting for MOSFET
Measuring MOSFET parameters

Overview

Review:



Today:

Devices Outline

  • Resistor
  • Capacitance
  • p-n junction: Diode
  • MOS Transistor
MOSFETs are the building blocks of circuits.
There are also resistors and capacitances, which can be realized with transistors.
Sometimes circuit peformance is limited by parasitics.
The layout above shows an input with along polysilicon line leading to an inverter.
There will be extra propagation delay because of the R and C of the polysilicon.
For real simulations of circuits parasitic R and C are extracted from layout and used.
An equivalent schematic with R and C and some parasitics diodes are shown below.
This lecture deals with resistors and capacitances in semiconductor technology.

Resistance

\[ R = \frac{\rho}{t} \frac{L}{W} = R_{square} \frac{L}{W} \]
R: resistance
ρ : resistivity
t: thickness
L: length
W: width
Rsquare: sheet resistance
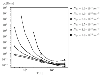
\[ \rho = f(\mu_n, \mu_p, n(N_A), p(N_D), T) \]
μn, μp: mobility of electrons and holes
ND, NA: doping concentration
T: temperature
non linear relationship

Resistance of doped silicon

Temperature dependence


Doping dependence

Thickness 180µm, Sheet Resistance calculator, PV Lighthouse
Doping concentration 1E15 3E15 1E16 3E16 1E17 3E17 1E18 3E18 1E19 3E19 1E20
n-sheet resistance 360E3 102E3 30.5E3 11.2E34.21E31.94E392048523310942.6
p-sheet resistance 1069E3299E386.5E330.1E310.3E34.28E31.82E388839817866.4

Sheet resistance values

Layer Sheet resistance
(Ω/square)
TCR1
(ppm/C)
VCR1
(ppm/V)
Mismatch %
dR/R
n-well 500±102400±508000±200<0.1
n+-poly 200±120±10700±50<0.5
p+-poly 400±5160±10600±50<0.2
n+ 100±21500±102500±50<0.4
p+ 125±31400±2080±80<0.6

Reference: CMOS, Circuit Design, Layout and simulation, Baker, Chap. 4, p.88

Layout of resistors

Avoiding long lines
Serpentine
Avoid corners with extra contacts
Count number of squares along resistor and multiply with sheet resistance:
27 squares
N-poly silicide: 5Ω/square R = 27 * 5 Ω = 135 Ω

Contact Resistance

10Ω/contact
Unit contacts
More contacts are better
Parallel connection
\[ R_{total} = \frac{R}{n} \]

Maximum current density and electromigration

Metal: Electromigration 1..2mA/µm

Electromigration is the transport of material caused by the gradual movement of the ions in a conductor due to the momentum transfer between conducting electrons and diffusing metal atoms. The effect is important in applications where high direct current densities are used, such as in microelectronics and related structures. As the structure size in electronics such as integrated (ICs) decreases, the practical significance of this effect increases.
Electromigration Leiterbahn ausfallort elektromigration

Supply voltage routing

0.1 Ω/square
AreaChip = 100 mm2
Line length up to 10 mm.
200 nm width of line.
50 000 squares
R = 5 kΩ
Current: 40 µA;
Voltage drop: Vdrop = I * R = 0.2 V
VDD = 1 V
Vinverter = 1 V - 2 * 0.2 V = 0.6 V
Vthn = 0.3 V; Vthp = -0.3 V;

Capacitances

Layer Plate
Capacitance aF/µm2
Fringe
Capacitance aF/µm
N-well to substrate100±20300±60
Poly to substrate58±588±4
Metal1 to poly39±488±4
Metal1 to substrate23±279±4
Metal2 to poly18±287±4
Metal2 to metal139±488±4

Reference: CMOS, Circuit Design, Layout and simulation, Baker, Chap. 4, p.61

Example poly silicide resistor

  • Avoiding long lines
    • Serpentine
    • Avoid corners instead use extra contacts
  • Count number of squares along resistor and multiply with sheet resistance:
    • 27 squares
    • N-poly silicide: 5Ω/□
    • R = 27 · 5 Ω = 135 Ω
  • Capacitance to ground:
    • Area and fringe
    • C = F * F * 27 * Cpl + F * 56 * Cfr
  • Distributed R C Circuit

Example Inverter

  • Peak current
  • Parasitic R,C
  • Max number of inverters on the power supply?

  • Max current: 6.8 µA, 33 µA
  • Polysilicon:
    • Squares: (17 + 6*30 + 17 + 3) □
    • R = 217 □ R = 217 * 6.2 Ω = 1344 Ω
    • C = 217 * CArea + 434 * Cfringe
    • C = 217 * 0.15 * 0.15 µm2 * 0.15 fF/µm2 + 434*0.15 µm *0.06 fF/µm = 0.73 fF + 3.9 fF

Design Tool RCX

  • Resistor and capacitance extraction from layout
    • Electric: Preferences, Tools, Technology, SPICE
  • More realistic delays
  • More realistic power distribution
  • More simulation time

Example

A top view of a metal line in a 50nm process running from A to B is shown crossing a polysilicon line, which runs from left to right. The metal sheet resistance is Rsquare=0.6Ω/square.
The lines are isolated with 80nm oxide. (ε0= 88 fF/cm, εSiO2 = 4)

1. Calculate the capacitance between the metal line (blue) and the polysilicon line (yellow).(2 points)
2. Calculate the resistance from A to B? (2 points)
3. Calculate the voltage drop on the line if a current of 30µA is flowing. (2 points)
4. Draw a cross section from points C to D (4 points)

MOSFET used for other purposes

Capacitance


Resistance


Diode
Lateral bipolar transistor

NFET Transistor roll-off


MOSFET threshold voltage is changing with device length for small feature size.

The graph is generated simulating 50nm NFETs with a transistor model from Baker.
Threshold voltage is depending a lot on transistor length. A dramatic decrease of threshold voltage below 50nm can be seen. A plateau of threshold voltage is around 70 nm length. Threshold voltage can be engineered with doping profile. Therefore it is assumed the transistor models are from a 65 nm process.
For measurement transistors with different length are designed.
A fixed current scaled by the W/L ratio is used for each transistor and measured gate source voltage is the threshold voltage.
Ouput of LTSPICE simulation:
ISX = -1
L [nm]	I [uA]			
40	-0.75 M11	V(z):	0.0205882	 voltage
50	-0.6  M1 	V(a):	0.298814	 voltage
55	-0.54 M9	V(y):	0.341268	 voltage
60	-0.5  M2	V(b):	0.360567	 voltage
65	-0.46 M13	V(k):   0.368286	 voltage
70	-0.42 M12	V(x):	0.369853	 voltage
75	-0.4  M14	V(l):	0.368038	 voltage
80	-0.37 M3	V(c):	0.364348	 voltage
100	-0.3  M4	V(d):	0.343594	 voltage
120	-0.25 M5	V(e):	0.323484	 voltage
150	-0.2  M6	V(f):	0.300119	 voltage
200	-0.15 M7	V(g):	0.275101	 voltage
240	-0.12 M8	V(h):	0.262334	 voltage
300	-0.1  M10	V(j):	0.234942	 voltage

MOSFET and FINFET

MOSFET                


FINFET


Feature size sub 25 nm
Fixed transistor width
Channel surrounded by gate

Nanosheet Transistor (2021)

Nanosheet                


NFET and PFET on top of each other

FINFET


Fixed transistor width
Channel surrounded by gate
Feature size < 5nm
Name: gate-all-around, multibridge channel, nanobeam, nanosheet

The Nanosheet Transistor Is the Next (and Maybe Last) Step in Moore’s Law?

Stick diagram 3-input NAND (10.05.2023)

Use lines to draw a circuit
  • Blue metal
  • Green SD area
  • Red: Gate
  • Black cross for contacts
  • Start with VDD in metal at top and gnd at bottom
  • Add transistors
Stick diagrams are used for layout planning.
It is very easy to draw lines and squeeze lines between 2 other lines.
This action would be much harder with rectangles with minimum feature size and distance.
When the stick diagram is finished it is easy to make a step by step plan for drawing the layout.

Logic design style

  • NFET, PFET transistor
  • Inverter, transmission gate
  • Small logic circuits

  • Testable D-FlipFlop (DFF), Register
  • Counter, Adder, Multiplier
  • CPU, memory, serial bus interface
  • AOI: AND OR INVERT design style
  • SOP: Sum of products
  • MUX: Multiplexer
  • LUT and MUX
  • Tri-state driver
After looking at the transistors, inverters and transmission gates more complex logic circuits are presented here as listed in the right column. The presented design styles are not complete, but are the most useful ones. These provide the groundwork to be able to implement all possible logic functions.
All LUT elements and the multiplexers are implemented in sclib.jelib to be able to use the Xilinx FPGA Spartan development tool (Webpack) to generate a VHDL code to be implemented with the VLSI Design system Silicon Compiler.

AOI design style

NAND


\( Y = \overline{ X1 \cdot X2 \cdot X3} \)

NOR


\( Y = \overline{ X1 + X2 + X3} \)
PFETs connected to VDD are at the top and NFET connected to GND at the bottom.
A NAND has PFETs on the top in parallel and NFETS at the bottom in series.
A NOR has PFETs on the top in series and NFETS at the bottom in parallel.
This can be used for arbitrary functions.
There can be additional inverters added to the inputs or outputs to realize a logic function.
Easy automated implementation with unit transistors is the main goal in this lecture. Power or speed optimization can be found in the literature and is extensively discussed. A lot of time can be spent to optimize the circuit.

AOI design style example

\( Y = \overline{ (a + b) \cdot c} \)
The (a + b) OR part of the function is realized as parallel NFETs at the bottom and series PFETS at the top.
The AND function is realized as series NFETs at the bottom and parallel PFET at the top.
Baker, CMOS Circuit Design, 12.4

Truth table and Sum of Products (SoP)

Truth table:
InputsOutputsAND Operations
S0S1YY1Y2
00000
01110
10101
11000
Any truth table can be composed as sum of products.
\( Y = Y1 or Y2 = (/S0 and S1) or (S0 and /S1) \) \( Y = (/S0 \cdot S1) + (S0 \cdot /S1) \)
The and and or operation can be replaced with NAND operations.
\( Y = \overline{ \overline{( /S0 \cdot S1 )} \cdot \overline{( S0 \cdot /S1 )}} \)
A sum of products needs a NAND operation for each "1" in the truth table with the respective inputs or inverted inputs.
The example shows an EXOR implementation using the SOP.

Multiplexer and Demultiplexer

A multiplexer transfers one of n lines to the output.
A demultiplexer transfers one input signal to one of n output lines.
Multiplexer and Demultiplexer can be realized using switches (TG).
Switches limit the drive strength of the output.
A multiplexer can be also realized with standard logic.
A demultiplexer should have a tristate output.

One line of X0, X1, X2, X3 is connected to Y. S0 and S1 are the select lines.
MUX
S1S0Y
00X0
01X1
10X2
11X3
DEMUX
S1S0X0X1X2X3
00YHi-ZHi-ZHi-Z
01Hi-ZYHi-ZHi-Z
10Hi-ZHi-ZYHi-Z
11Hi-ZHi-ZHi-ZY

Connecting input variables to select lines and VDD, GND or input variables to input multiplexer lines can realize truth tables. The output is not inverted but has also limited drive strength.
There are always discussions, if delay and power consumption is better for CMOS logic or Pass (MUX) logic.

Implementation of bigger truth tables

Provide all 16 possible 2 input functions.
Use a multiplexer for additional inputs.
Example: LUT4_37E5
X1X0LUT20 LUT21 LUT22 LUT23 LUT24 LUT25 LUT26 LUT27
000101 0101
010011 0011
100000 1111
110000 0000
X1X0LUT28 LUT29 LUT2A LUT2B LUT2C LUT2D LUT2E LUT2F
000101 0101
010011 0011
100000 1111
111111 1111

The picture shows implementation of a 4 input truth table.
Inputs are I0,I1,I2,I3.
The sequence of column sin the truth table has to be matched with the schematic.
The sequence of y shows first the LSB and then the MSB.

NrI3I2I1I0YHex
0000015
100010
200101
300110
401000E
501011
601101
701111
8100017
910011
1010101
1110110
12110013
1311011
1411100
1511110

This is implemented in sclib.jelib

The SPICE code for simulation of the truth table is included here.

Tri-state Driver

Multiple drivers can be connected to a bus to save wiring and space.
Then a tri-state driver is needed.
Here 2 implementations are shown.
A transfer gate after the driver has a lower output resistance.

ENY
0Hi-Z
1A
ENAY
00Hi-Z
01Hi-Z
100
111

Summary

  • Draw a NAND and NOR truth table, schematic and layout.
  • Construct the boolean function from the truth table
  • What is the AOI style?
  • What does AOI stand for?
  • Draw the AOI schematic and layout of a given boolean function.
  • Calculate the delay of a given AOI style circuit.
  • Why do you need other design styles?
  • Do you know any other design styles?

Next: 08 System design and VHDL